贵阳无线ap网络工程中如何选择无线网桥?监控安装工程公司提醒你需要考虑两个主要因素!

2023-10-04| 发布者: 超级管理员| 查看: 38893


贵阳无线ap网络工程中如何选择无线网桥?监控安装工程公司提醒你需要考虑两个主要因素!

无线网络的桥接被我们称之为无线网桥,利用无线传输的方式让两个或两个以上的网络实现通信。

无线网桥除了具有有线网桥的基本特点以外,由于其是工作在2.4G或5.8G的频段,而这两个频段是免申请无线执照的,所以部署起来也较为方便。

在具体的无线网桥应用中,第一监控在此前也专门做过详细介绍,通常采用的架设方案包括点对点方式,点对多点方式,中继方式等等。根据具体的工程实际要求和现场环境决定选择不同的架设方案。

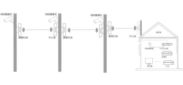
点对点方式:在机房中心端和摄像机端是点对点的关系。

070df82303e53a3d635c67cb30d1da4c.jpg

点对多点方式:一个机房中心端对应两个或两个以上的摄像机端。

9007fd7c0677b17230cf84ebeb43b2a7.jpg

中继方式:从机房中心端开始连接第一个摄像机端,然后从第一个摄像机端的中心端再连接第二个摄像机端。通常的室外网桥品牌都支持不超过6次的中继。

744bc769ac5cb0f91753b4890a88b2d3.jpg

我们在具体选用无线网桥时,需要考虑的两个因素是:传输距离和带机量。

传输距离不需要多说,在无线网桥的设备参数中会有标注多远的距离传输,比如电梯网桥传输500米、室外网桥传输1-3千米不等。

带机量的影响因素包括无线网桥设备的芯片、内存等,市面上的网桥带机量厂家并没有一个特定的数量说一个网桥能带多少台设备。因为的确难以做到一个合适的标准测试方法来测定,因为工程应用场景的网络使用情况千变万化,所以厂商也只是给出典型应用环境的估算带机量。

所以在选购设备的时候,要根据传输距离和带机量来综合考量,若现场距离短、带机量需求小可以选择经济款的设备;若现场距离长、带机量需求大则要选择高带机量款网桥。

通常情况经济款的设备为2.4GHz传输,高带机量网桥设备为5.8GHz传输。2.4G频段使用广泛,所以容易受到干扰。另外在工程现场使用三对以上的网桥,建议选择5.8G型号的网桥设备。

2.4G的频率应用有多么广泛呢?目前所有的电脑和手机设备都支持,甚至有人指出微波炉也在使用2.4G这一频段,可想而知,干扰有多大。这一就会导致数据传输速率慢,于是解决这个问题就有了5.8GHz(有的书中也写5GHz),一般5.8G是基于802.11ac技术,这样传输速率会更快,但是也有显著的缺点,就是穿墙能力较弱。所以频率越低,穿墙越好;频率越高,速度越快。

802.11是无线局网的一个标准协议,由它发展出来的一系列协议都代表着不同的工作频段和传输速率。整理个表格如下(这里的理论速率差不多是实际速率的2倍)

2d8c92747c561e541de7a0a9b5e955e9.jpg


贵阳监控安装服务,专业品质,安心无忧!贵阳监控安装公司,提供优质服务,让您安心! 贵阳监控维修服务,专业团队,快速响应! 贵阳监控工程服务,品质卓越,安全高效!.贵阳监控维护
<
>

主要从事计算机信息技术服务、向广大客户提供全面的计算机技术服 务,包括计算机维护、监控系统安装、网络组建及维护、综合布线服务、数据安全管理等服务。提供一套全面、可靠、质优价廉的方案适应客户的长期需求

联系我们

贵州省贵阳市云岩区黔灵镇黄山冲33号

15285556605 (服务时间:全天24小时)

124381415@qq.com

在线咨询 官方微信官方微信

服务项目

监控安装 别墅监控 厂区监控

酒店监控 智能报警 LED接屏

服务区域:贵阳 遵义 安顺 余庆 施秉

全省正在服务中。。。

售后服务 咨询电话15285556605 返回顶部
返回顶部